今天下午4点,一则消息瞬间引发互联网刷屏。
作为直播带货一姐的薇娅,因为偷逃税款6.43亿元,被税务部门追缴并处罚款13.41亿元。

此消息一出,马上引起网络舆论轰动,主要这个偷税漏税金额有点大,已经超过95%上市企业的纳税额。
其实,我在10月22日的文章里,就曾经写过文章分析过直播带货的一些乱象和隐患。

文中除了分析直播带货行业的一些利弊、垄断问题,也提及关于直播带货的缴税纳税问题。
这篇文章我也做成视频,我会在本文末尾贴一下。
说实话,我还以为这些大的头部主播,应该会依法缴税,毕竟是在聚光灯下。
但这样众目睽睽,居然还敢偷税漏税。
简直就是肆无忌惮。
而且就像我之前那篇文章里分析的那样,我认为现在对于这些主播的缴税比例已经是很低了。
即使按照个人所得税,封顶也就是45%的缴税比例,对这样每年收入至少十几亿的头部主播来说,这个比例应该说是相当低的。
即使按照45%纳税,他们每年拿到手也能有好几亿的收入。
但这样还满足不了他们的胃口?
这些头部主播本来就虹吸了社会资源,不想着依法纳税,反而还在绞尽脑汁偷税漏税。
甚至,在税务机关多次提醒督促仍整改不彻底。
这还真的是人心不足蛇吞象。
人的贪欲,真的是无止境。
本文会就此详细分析一下。
(1)薇娅如何偷税
我们来看一下,这次税务部门给薇娅开出的处罚细则。
薇娅的偷税分两部分:
1、隐匿收入
2、虚构业务转换收入。
其中:
对隐匿收入偷税但主动补缴的5亿元和主动报告的少缴税款0.31亿元,处0.6倍罚款计3.19亿元;
对隐匿收入偷税但未主动补缴的0.27亿元,处4倍罚款计1.09亿元;
对虚构业务转换收入性质偷税少缴的1.16亿元,处1倍罚款计1.16亿元。
看得出来,税务部门还是依法很细致的对薇娅进行分类处罚,主动补缴的罚款倍率会比较低,没有主动补缴的处罚倍率比较高。
这里,之所以杭州税务部门就这件事情答记者问的时候,有提到“多次提醒督促仍整改不彻底,遂依法依规对其进行立案并开展了全面深入的税务检查。”
这里应该是,薇娅在主动补缴了5亿元税款后,有侥幸心理,仍然少报了0.27亿元。
为此,薇娅被多罚了近1亿元。
可见侥幸心理要不得。
薇娅偷税的两大块,隐匿收入为把从直播平台取得的佣金收入进行虚假申报偷逃税款。
虚构业务转换收入,则是薇娅及其丈夫成立了一大堆个人独资企业,明目张胆的将其个人从事直播带货取得的佣金、坑位费等劳务报酬所得转换为企业经营所得进行虚假申报偷逃税款。
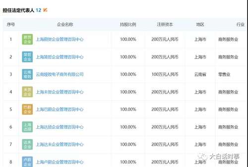
从企查查上可以看到,薇娅名下有一大堆个人独资企业。

他老公名下也有这样的XX管理咨询中心。

这个薇娅夫妇他们有庞大的商业帝国,需要开这么多家个人独资企业来“管理咨询”吗?
其实明眼人一眼就能看出来,这些“XX咨询公司”都是用来“虚构业务转换收入”。
把薇娅直播带货赚到的佣金、坑位费等劳务报酬,转换为企业收入,从而进行避税。
那么为什么要这么做呢?
因为企业税率会比个人所得税率要低,特别是薇娅这样化整为零之后,税率就更低了。
而且去年因为疫情,我们国家对小规模纳税人企业有减税优惠。
比如,小规模纳税人增值税起征点上调至每月15万元。
也就是月销售额15万元以下的增值税小规模纳税人,免征增值税。
此外,还有疫情期间1%增值税的征收率政策。
原本小规模纳税人的增值税率是3%,现在是1%。
我们可以看到,薇娅有很多企业,都是去年注册的。
为了省这么2%的税率,不惜注册这么多企业,来化整为零。
按照我国的小规模纳税人认定标准:年应税销售额在500万元以下(含500万元)的纳税人。
薇娅注册了这么多家企业,可能目的就是为了让每家企业的年销售额都在500万元以下,来想享受小规模纳税人的税收优惠,以此达到偷税漏税的效果。
假如薇娅没有注册这些企业来偷税漏税。
按照个人所得税率,她肯定是得按照45%的封顶比例来缴税。

我们2019年开始新的个人所得税,把劳务报酬并入到个人所得税里征收。
个人所得税就包括个人的“工资、薪金所得”、“劳务报酬所得”、“稿酬所得”、“特许权使用费所得”。
这里说明一下,像主播直播带货的佣金、坑位费,一般是算在“劳务报酬”里。
所以,按照新版个人所得税,年收入超过96万的部分,需要纳税45%。
这显然是要比薇娅这样化整为零注册一大堆企业,享受小规模纳税人的优惠,要多交很多税。
由此看,薇娅偷税漏税是非常明显,而且有点肆无忌惮。
一方面,她把不需要对公业务,进行隐匿收入偷税,她大部分收入是直接这么处理。
另外一方面,她把一些可能需要对公的业务,直接化整为零,虚构业务转换收入,这本身也是明显故意的偷税漏税行为。
隐匿收入偷税的这一大头,薇娅是连一分钱税都没收。
虚构业务转换收入,还多多少少交了一点点小规模纳税人的税赋比例。
所以,薇娅这个偷税漏税还是比较明显的。
问题在于,主播行业,是不是存在这样普遍的偷税漏税现象。
(2)直播带货乱象
我们可以看一则新闻。

“今年9月,国家税务总局专门印发通知,明确网络主播2021年底前能够主动报告并及时纠正涉税问题的,可以依法从轻、减轻或免予处罚。据了解,已有上千人主动自查补缴税款。税务总局同时明确,对自查整改不彻底、拒不配合或情节严重的依法严肃查处。”
所以,这轮对网络主播的整顿力度,还是比较大的。
国家现在推出“金税四期”,对这些网络主播的偷税漏税,基本不会有漏网之鱼,所以不要有侥幸心理。

前阵子,另外一个头部直播带货主播雪梨,也因为偷税漏税被追缴税款并处罚6555万元。
并且,就在前几天,雪梨的全平台账号都处于被封禁状态。
这已经是相当严厉的处罚。
目前还不清楚薇娅是否也会有这样的待遇。
但至少目前薇娅的淘宝直播账号是已经被冻结,不过店铺还没有被封。

薇娅和雪梨是淘宝带货直播的TOP3,其中两位。
虽然雪梨是名列第三,但销售金额跟前两位是差了好几个量级。
从中可见,直播带货的头部虹吸效应,严格来说薇娅和李佳琦是独一档。
现在这个直播带货的TOP3,直接去了两个,对直播带货行业的影响还是很大的。
另外,关于薇娅偷税6.43亿元,很多人惊呼,真的赚了那么多钱。
不过我想说的是,这个偷税金额,其实应该是按照其实际收到的钱算的,而非其公开说的销售额去计算。
目前还不清楚这个2019年~2020年期间,是算一年,还是算两年。
算两年的话,对应的薇娅实际收入,感觉有点低。
比如薇娅在10月20日创下两名头部主播带货189亿的令人瞠目结舌记录,而薇娅自己就单日卖出了82亿元。
考虑到直播带货的退货率很高,我们就按照一半退货率来算。
薇娅10月20日,一天可能的实际卖出40亿元,按照直播带货平均20%+的抽佣比例,再加上坑位费,薇娅在这一天的收入可能就达到了10亿元。
这是按照其明面公开数据推算的,实际收入多少,我们就不得而知。
考虑到直播数据水分比较大,实际收入应该是没那么多。
还有一些第三方统计的网红主播收入排行榜。

根据这个榜单计算,薇娅在2019年~2021年9月1日,总收入57.357亿元。
那么,我感觉这个收入就不太对劲了。
按照薇娅的偷税金额来说。
因为薇娅的年收入是远超过96万元的封顶门槛,所以我们直接按照45%的纳税比例,可以直接推算薇娅2019年~2020年期间的实际收入是14.28亿元。
假如这个收入,是薇娅两年内的收入,那么跟其明面“直播数据”显示推导出来的年收入,显然还是差太多。
我们按照“直播数据”推导出来,薇娅一年的收入,应该是20亿左右。
考虑到这次税务部门追查力度很大,薇娅一些没有主动补缴的偷税漏税都被查出来了,我们应该可以认为,基于偷税6.43亿元,推算出来的14.28亿元实际收入是比较靠谱。
那么也就是说,这个“直播数据”的水分,确实是很大的。
因此,我还是我10月22日文章里提到那样。
我个人比较建议,可以按照这些主播公示的“直播数据”去给他们扣税,这样估计整个直播带货行业就会一下子没有数据水分。
(3)个人建议
另外就是,我认为个人所得税率,应该要把封顶门槛提高一些。
目前年收入96万封顶45%的个人所得税率,我认为已经跟不上时代的发展。
对于我们绝大多数普通人来说,年入百万是遥不可及的目标。
但这些头部主播,别说年入百万,动辄就是年入过亿。
对于这些赚钱能力超强的个人主播,仍然只缴纳45%的个人所得税,我认为是不太合理的。
直播带货行业本来就存在很强的马太效应,资源大量集中在头部主播,并且跳过很多中间环节,减少全流通过程的就业岗位。
比如10月20日,包括薇娅在内的两个头部主播单日卖了189亿,那么其他所有人卖的金额就会相应减少,这是此消彼长的过程。
虽然这能成就网红主播,但其他领域的经济效应缺乏后,很容易影响就业。
比如这189亿元的单日销售金额,仅销售环节,如果分散在中小微商家,可能可以养活几十万人,但现在就算把主播自己开公司所有员工加起来,可能也就是养活几百人。
二者所能产生的实际社会效益,是相差甚远。
消费者看似拿到了优惠,但假如经济不景气,消费会越发萎靡,最终影响的仍然是我们消费者自己。
这有点像是买椟还珠,看似拿到优惠,实际在扼杀我们自己的消费能力。
强调一下,我不反对电商,我自己整天也在电商上买东西,但我反对资源过度朝头部少数一些人聚拢。
物极必反,过犹不及。
当然,我也不是说一定要有很多中间环节,来增加消费成本。
但这需要考虑到一个平衡的尺度。
至少可以肯定的是,既然直播带货虹吸走大量社会资源,那么理应承担更多的社会责任,因此就要用更大的力度去追查这些主播应缴的税款。
本来直播带货所能创造的社会效益、就业岗位就比传统经济模式要少很多,就更需要通过纳税来回报社会,这也是理所应当的。
所以我建议,应该在45%个人所得税率上,再加1-2个档位,比如年收入超过1000万的部分,征收55%个人所得税率,年收入超过1亿的部分,征收70%个人所得税率。
美国上世纪70年代,为了跟苏联竞争,一度给这些富人征收超过80%的税率。
所以我觉得这种依靠虹吸社会资源,拥有极强赚钱能力,一个人可以顶得上好多家上市企业的人来说,征收70%个人所得税率,并不过分。
因为他们的成功,当然有来自于他们的辛苦、勤奋、天赋、和努力。
但他们的成功,也是建立在社会资源大量被他们虹吸的基础上,挤占了很多人的就业空间,所以他们也理应回馈社会。
这不是仇富,而是很合理的诉求。
当然,这只是我的个人建议。
像他们这样极少数赚钱能力极强的人,一年赚十几亿,即使扣70%个人所得税,也仍然有一年好几亿的收入。
这还有什么不满足?
现在只扣45%的个人所得税,他们都要这样建立这么多企业,去偷税漏税。
这是不是太过分了?
真的是人心不足蛇吞象。

「 支持!」
您的打赏将用于网站日常运行与维护。
帮助我们办好网站,宣传红色文化!
欢迎扫描下方二维码,订阅网刊微信公众号
